Kode QR
Babagan Kita
Produk
Hubungi Kita


Fax
+86-574-87168065

E-mail

alamat
Wilayah Industri Luotuo, Kabupaten Zhenhai, Kutha Ningbo, China
Raydafon's SWC-BH Welding Counter Universal Coupling universal yaiku diringanakake khusus kanggo transfer torsi abot ing skenarios mesin abot, krenjang, lan peralatan pertambangan sing ngoperasikake.
Nerangake karo rakit sing dilayani minangka fitur desain utama, lan diameter gyrasi jangkoan praktis: saka 180mm nganti 620mm. Apa sing dadi loro kanggo tugas sing angel yaiku kemampuan kanggo ngatasi kesalahan nganti 15 derajat, ditambah karo torsi kanthi dhuwur minangka 1250 kn lan loro kritis kanggo njaga operasi sing ora ana ing kahanan sing digunakake ing kahanan kerja.
Kualitas mbangun daya tahan: Gandum nggunakake baja 35 Kekuwatan dhuwur kanthi kekuatan sing dawa, dipasangake karo bantalan jarum presisi kanggo njamin kinerja sing lancar. Iki ndadekake pilihan kanggo rong kabutuhan kunci: Pasokan universal sing cocog kanggo mesin sing abot, lan nganggo kuplukan universal sing cocog kanggo aplikasi kelas industri.
Raydafon ngasilake kopling iki ing China, lan kabeh standar nderek standar ISO 9001 kanggo njamin kualitas sing konsisten. Ndhuwur, nawakake pilihan khusus cocog karo syarat khusus - Harga kanthi rega sing tetep kompetitif kanggo bisnis sing golek linuwih lan regane.
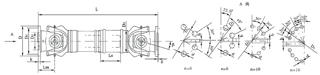
| Ora. | Diameteripun gyrasi d mm | Torsi Nominal Tn Kn · m | Sudut lipatan axes β (°) | Torsi Minyak Tf Kn · m | Jumlahe fleksibel Ls mm | Ukuran (mm) | Muter Inersia KG.M2 | Bobot (kg) | |||||||||||
| Lmin | D1 (JS11) | D2 (H7) | D3 | Lm | N-D | k | t | b (H9) | g | Lmin | Mundhak 100mm | Lmin | Mundhak 100mm | ||||||
| SWC58BH | 58 | 0.15 | 0.075 | ≤22 | 35 | 325 | 47 | 30 | 38 | 35 | 45 | 3.5 | 1.5 | - | - | - | - | 2.2 | - |
| SWC65BH | 65 | 0.25 | 0.125 | ≤22 | 40 | 360 | 52 | 35 | 42 | 46 | 46 | 4.5 | 1.7 | - | - | - | - | 3 | - |
| SWC75BH | 75 | 0.5 | 0.25 | ≤22 | 40 | 395 | 62 | 42 | 50 | 58 | 6-6 | 5.5 | 2 | - | - | - | - | 5 | - |
| SWC90BH | 90 | 1 | 0.5 | ≤22 | 45 | 435 | 74.5 | 47 | 54 | 58 | 48 | 6 | 2.5 | - | - | - | - | 6.6 | - |
| SWC100BH | 100 | 1.5 | 0.75 | ≤25 | 55 | 390 | 84 | 57 | 60 | 58 | 6-9 | 7 | 2.5 | - | - | 0.0044 | 0.00019 | 6.1 | 0.35 |
| SWC120BH | 120 | 2.5 | 1.25 | ≤25 | 80 | 485 | 102 | 75 | 70 | 68 | 8-11 | 8 | 2.5 | - | - | 0.0109 | 0.00044 | 10.8 | 0.55 |
| SWC150BH | 150 | 5 | 2.5 | ≤25 | 80 | 590 | 13 | 90 | 89 | 80 | 8-13 | 10 | 3 | - | - | 0.0423 | 0.00157 | 24.5 | 0.85 |
| SWC160BH | 160 | 10 | 5 | ≤25 | 80 | 660 | 137 | 100 | 95 | 110 | 8-17 | 15 | 3 | 20 | 12 | 0.145 | 0.006 | 68 | 1.72 |
| SWC180bh | 180 | 20 | 10 | ≤25 | 100 | 810 | 155 | 105 | 114 | 130 | 8-17 | 17 | 5 | 24 | 14 | 0.175 | 0.007 | 70 | 2.8 |
| SWC200BH | 200 | 32 | 16 | ≤15 | 110 | 860 | 170 | 120 | 127 | 135 | 8-17 | 19 | 5 | 28 | 16 | 0.31 | 0.013 | 86 | 3.6 |
| SWC215BH | 225 | 40 | 20 | ≤15 | 140 | 920 | 196 | 135 | 152 | 120 | 8-17 | 20 | 5 | 32 | 9 | 0.538 | 0.0234 | 122 | 4.9 |
| SWC250BH | 250 | 63 | 31.5 | ≤15 | 140 | 1035 | 218 | 150 | 168 | 140 | 8-19 | 25 | 6 | 40 | 12.5 | 0.966 | 0.0277 | 172 | 5.3 |
| SWC285BH | 285 | 90 | 45 | ≤15 | 140 | 1190 | 245 | 170 | 194 | 160 | 8-21 | 27 | 7 | 40 | 15 | 2.011 | 0.051 | 263 | 6.3 |
| SWC315BH | 315 | 125 | 63 | ≤15 | 140 | 1315 | 280 | 185 | 219 | 180 | 10-23 | 32 | 8 | 40 | 15 | 3.605 | 0.0795 | 382 | 8 |
| SWC350BH | 350 | 180 | 90 | ≤15 | 150 | 1410 | 310 | 210 | 267 | 194 | 10-23 | 35 | 8 | 50 | 16 | 7.053 | 0.2219 | 582 | 15 |
| SWC390BH | 390 | 250 | 125 | ≤15 | 170 | 1590 | 345 | 235 | 267 | 215 | 10-25 | 40 | 8 | 70 | 18 | 12.164 | 0.2219 | 738 | 15 |
| SWC440BH | 440 | 355 | 180 | ≤15 | 190 | 1875 | 390 | 255 | 325 | 260 | 16-28 | 42 | 10 | 80 | 20 | 21.42 | 0.4744 | 1190 | 21.7 |
| SWC490BH | 490 | 500 | 250 | ≤15 | 190 | 1985 | 435 | 275 | 325 | 270 | 16-31 | 47 | 12 | 90 | 22.5 | 32.86 | 0.4744 | 1452 | 21.7 |
| SWC550BH | 550 | 710 | 355 | ≤15 | 240 | 2300 | 492 | 320 | 426 | 305 | 16-31 | 50 | 12 | 100 | 22.5 | 68.92 | 1.357 | 2380 | 34 |
Nalika ngrembug babagan peralatan industri abot sing njaga kekuwatan kanthi ora bisa dipercaya, kopling sendhi sendi universal universal (asring diarani shaft kardanan SWC universal universal) minangka bagean sing ora bisa dirundingake. Sampeyan bakal angel kerja ing persiyapan kaya rodok rokok, mesin hoisting, lan kabeh jinis sistem mesin abot sing angel - panggonan sing nggunakake sudhut daya ora ana pilihan.
Pakaryan utama? Sambungake rong shafts transmisi sing ora larangan (ora ana paksi sing ora jelas) lan priksa manawa kekuwatan terus obah tanpa lemak, sanajan kahanan operasi dadi kasar. Ora ana gagap, ora ana transfer sing tetep kanthi tetep nalika isih penting.
Ayo dadi spek utama sing nggawe kinerja iki bisa:
Diametery gyrasi: kisaran saka φ58 nganti φ58 nganti φ620, nutupi kabutuhan industri sing dibutuhake kanggo 0,15 kn · sudute sing luwih dhuwur kanggo 1 ° tanpa luwih cocog.
Ngendi iku paling akeh? Pikirake operasi mill sing muter-ing ngendi tumindak sing cocog karo tugas sendi universal-tugas sing abot sing bisa ditindakake ing sangisore tekanan sing kuat pabrik. Utawa nalika ngangkat lan menehi peralatan penanganan materi, ing endi minangka masang saham gabungan universal swc universal swc, tetep dadi stabil sanajan akeh parah. Ora mung bisa digunakake - iku terus operasi kanthi stabil nalika arep angel.
Masak sendi Universal SWC ora mung dibuwang - bisa direkayasa saka lemah nganti bisa angel ing setelan industri, kanthi fitur sing ningkatake kaloro kinerja lan umur dawa. Ayo goleki apa sing nggawe struktur kerja kanthi becik.
Desain sing aman, Aman
Ing inti minangka desain kepala garpu sing terintegrasi sing terpadu dianakaké bebarengan karo bolts ing kene. Masalah iki amarga ngethok risiko bolts sing bakal ilang utawa snapping, sirah sing umum karo persiyapan liyane. Nyatane, desain iki munggah kekuwatan struktural kanthi 30% nganti 50% dibandhingake karo gaya lawas. Kanggo sapa waé sing nyirami ing mesin sendi sing abot, tegese luwih sithik kelompok nalika kedadeyan saya gedhe. Iki minangka jinis pasangan sendi universal sing kuwat sing terus mlaku kanthi lancar, sanajan lingkungan stres sing dhuwur banget ing endi bagean liyane bisa gagal.
Dibangun kanggo nggawa beban
Iki dudu konektor rata-rata sampeyan. Kopling sendi universal sing abot digawe saka SWC digawe kanggo ngatasi peralatan pertambangan sing abot, mesin konstruksi, lan harga hawa liyane. Yen sampeyan butuh kopling sendi Universal sing rame sing ora bakal mundur kanthi tekanan, iki sing ngirim. Iku ora mung babagan ukuran; Iku babagan bahan lan rekayasa sing kerja bareng-bareng kanggo njupuk ing piala tanpa nganggo cepet.
Mindhah kekuwatan kanthi efisien
Apa sampeyan kepengin weruh kabeh energi ing persiyapan industri gedhe? Ora akeh sing bakal dibuwang ing kene. Tanduran target universal universal hits efisiensi efisiensi tingkat kanggo 98,6%, tegese energi kurang ilang minangka panas utawa gesekan. Kanggo operasi sing pengin dipotong kanthi biaya, sing menang gedhe. Iki minangka jinis pasangan sendi Universal universal sing efisien sing nggawe bedane sistem panulunan tenaga gedhe, tumindak minangka coupling sendi universal sing dipercaya sing njaga tagihan energi.
Sepi lan mantep
Mesin kanthi banter bisa dadi masalah nyata, utamane ing papan sing penting. Gabungan sendi universal universal ndadekake samubarang tenang, kanthi tingkat swara biasane antarane 30-40 DB (a) -Quiereter tinimbang obrolan normal. Sing nggawe pasangan gabungan universal universal sing apik kanggo lingkungan sing njaga swara, tanpa ngurbanake linuwih sing dibutuhake. Apa ana ing lantai pabrik utawa bengkel presisi, kopling gabungan universal universal sing lancar entuk proyek tanpa raket.
Tipe SWC-BH standar standar universal ora mung bagean liyane - iku workhorse sing dibangun kanggo mindhah daya kanthi efisien, sanajan mesin ana stres abot. Ayo mudhun ing ngendi pancen sumunar.
Njupuk mesin lan gear konstruksi, umpamane. Yen sampeyan lagi urusan karo akeh ekstrem lan ekskabuhan-vibrontan - penggali utawa buldoser - coupling iki ora mundur. Rancang las kasebut nambah kekarepan ekstra, saéngga ngatasi pilihan Flimsier sing bisa uga kokain utawa nyandhang saka kabeh gerakan kasebut. Iki minangka jinis kopling universal dhuwur sing njaga kekuwatan sing mili, ora preduli carane kasar kerja.
Ing pabrik, utamane babagan garis conveyor lan sistem pemasangan, masalah tliti. Gegayuhan masarakat universal kelas iki lan owah-owahan ing alignment tanpa nglangkungi ngalahake, tetep kecepatan kanthi anteng. Iki tegese kurang ndandani risak lan wektu luwih akeh njaga produksi ing trek. Insinyur kaya mangkene amarga cocog karo salah, radial, lan sudut-sudut-shaft-shaft sing bisa mbuwang bagean liyane.
Liwat otomotif lan transportasi, cukur corak butuh perkara sing bisa dilalekake kanthi lancar. SWC-BH cocog, apa ana ing truk, sepur, utawa kendharaan liyane. Desain welding fleksibel ndadekake gampang slot menyang persiyapan sing ana, nangani kecepatan sing dhuwur tanpa nglereni sudhut kanggo safety. Iku garansi garan universal kanggo njaga perkara sing obah.
Karya laut lan offshore angel ing peralatan-asin, cuaca sing ora bisa diramal. Kagung iki uga duwe dhewe. Minangka korofling universal tahan universal, sing ngadeg kanggo semprotan uyah lan segara atos, njaga mesin kapal lan mesin bantu terus-terusan. Ora ana kegagalan sing gegandhengan karo karat, ora ana sing ora dikarepake.
Persiyapan energi sing dianyari kaya turbin angin lan pelet solar butuh bagean sing ora mbuwang energi. SWC-BH langkah-langkah munggah minangka energi sing bisa dianyari energi universal, mindhah kekuwatan meh ora ana backlash. Iki cocog karo standar kualitas global, supaya ing kebon angin ing Eropa utawa tanduran solar ing Asia, mula.
Ing Raydafon, kita ora mung adol kalodhangan kasebut - kita nyesuaikan. Perlu ukuran, materi, utawa kapasitas torsi tartamtu? Tim kita ngapiki SWC-BH supaya cocog karo kabutuhan sing tepat. Tekan, lan kita bakal mbantu sampeyan entuk akeh sistem sampeyan.
Yen sampeyan nggoleki wong sing dipercaya karo komponen mekanik, utamane perkara kaya jinis welding flandani SWC-BH-RayDafon universal ora mung pilihan liyane. Kita produsen sing urip lan ambegan, lan sing nuduhake ing saben bagean sing digawe.
Pisanan, kualitas dudu sing dingerteni kanggo kita. Kita nggunakake teknik Teknik Top-Tier lan nyelehake saben pasangan sendi universal - apa ana torsi dhuwur kanggo mesin sing abot utawa model kelas industri kanggo persiyapan pabrik. Saben bagean bisa ngrampungake standar ISO 9001, lan kita nyoba kanthi hard: kahanan sing ekstrem, apa wae, apa wae sing thukul. Tujuane? Ora ana gagal sing ora dikarepke, kurang resiko kanggo operasi, lan goto sing njaga sistem kanthi lancar.
Banjur ana kustomisasi. Ayo dadi nyata-ora ana rong proyek sing padha. Mungkin sampeyan butuh garansi drive universal kanthi dimensi khusus, utawa propulsion laut universal digawe saka bahan tahan karat, utawa malah energi sing bisa dianyari kanggo torsi sing bener. Kita ora nggawe sampeyan cocog karo "siji-ukuran-fits-kabeh". Dakkandhani apa sing sampeyan butuhake, lan kita bakal cocog karo slot ing persiyapan sing wis ana - apa sistem otomotif, laut, utawa surya.
Lan kita uga entuk masalah. Sampeyan ora kudu milih ing antarane pasangan sing apik lan rega sing cocog. Kita wis ngoptimalake rantai persediaan lan skala produksi supaya kita bisa nawakake tarif kompetitif babagan bagean khusus sing digunakake kanggo popsling Laut Universal utawa tanpa milih sudhut kanthi kualitas. Iki babagan menehi sampeyan regane sing tahan, ora mung bagean sing murah sing gagal cepet.
Tim kita ora ilang yen sampeyan mencet "Order," uga. Saka telpon pisanan - nalika sampeyan nyoba kanggo nggatekake pasangan sendi Universal sing paling apik kanggo gaman energi sing bisa dianyari utawa dhukungan pabrik, yen sampeyan duwe pitakon, kita wis ana ing kene. Kita wis pirang-pirang taun ngerti babagan sampeyan, supaya kita bisa nuntun sampeyan menyang pilihan sing tepat, mbantu sampeyan ora duwe downtime, lan priksa manawa kopling sampeyan nindakake apa sing dibutuhake.
Ing Raydafon, kita ora mung adol bagean-kita bangunan kemitraan. Kita pengin dadi tim sing dipercaya kanggo njaga operasi maju, kanthi solusi gabungan universal sing bisa ditindakake kanthi angel. Yen sampeyan duwe kabutuhan khusus, tekan spesialis kanggo dina iki - supaya bisa ngomong babagan carane bisa mbantu.
alamat
Wilayah Industri Luotuo, Kabupaten Zhenhai, Kutha Ningbo, China
Telp


+86-574-87168065


Wilayah Industri Luotuo, Kabupaten Zhenhai, Kutha Ningbo, China
Hak Cipta © Raydafon Teknologi Group Co, winates kabeh hak dilindhungi undhang-undhang.
Links | Sitemap | RSS | XML | Kebijakan Privasi |
