Kode QR
Babagan Kita
Produk
Hubungi Kita


Fax
+86-574-87168065

E-mail

alamat
Wilayah Industri Luotuo, Kabupaten Zhenhai, Kutha Ningbo, China
Yen sampeyan mbukak Milling Rolling Steer kaya mesin sing abot mesin sing nyalonake logam kabeh shift, cranes ngangkat ton materi, utawa peralatan pertambangan sing ana ing njero bledug lan tekanan sing ora bakal ngeculake sampeyan. Yaiku jinis sing nganggo jinis SWC-BH standar SWC-BH SWC-BH sing dibangun kanggo: transmisi torsi sing dipercaya, sanajan kerja dadi kasar.
Kaping pisanan, ayo ngomong babagan rancangane. YOKE KASED ora mung fitur-iku ganti game. Boten kados goyangake goyangake sing bisa lolos sajrone wektu, sing diluncurake kanthi solid, mula ora ana résiko saka bagean sing goyang nalika mesin kerja keras. Lan cocog karo macem-macem persiyapan, kanthi diameter gyrasi wiwit taun 180mm nganti 620mm - ora perlu mburu pilihan siji-siji-ora ana pilihan. Minangka standar universal standar standar, ngatasi nganti 15 derajat misalignment Angular, tegese yen shafts sampeyan ora diantrekake dijejeri (lan supaya nyata), mula tetep dadi kekuwatan. Malah nalika torsi cocog karo 1250 kan · Kekuwatan M-serius - tetep stutter, ora ana tetes.
Kita ora skimp ing bahan, uga. Bab iki digawe nganggo barang-barang kekuwatan 35cmo sing dhuwur sing nolak, sanajan wis banged ing mine utawa digawe panas cedhak pabrik gulung. Kajaba iku, kita sijine ing bantalan jarum tliti, saengga bisa lancar, ngethok gesekan, lan luwih suwe luwih saka pasangan sing luwih murah. Pramila budhal kanggo para undsal universal kanggo mesin abot - ora mung bisa sawetara minggu; Iku teken, tetep mlaku peralatan. Lan yen sampeyan kudu dilasake ing kopling universal kanggo aplikasi industri? Iki- desain sing dilasilake ngendelake geter lan stres luwih apik tinimbang alternatif sing ditindhes, saengga sampeyan nggunakake wektu sing kurang wektu sing bisa digunakake.
Ing Raydafon, kita nggawe iki ing China, nanging kita ora ngethok sudhut kanthi kualitas. Saben langkah nderek standar ISO 9001 - kita mriksa baja, kita mriksa welds, kita nyoba para pengawal-sampeyan ngerti yen sampeyan entuk pasangan sing cocog karo aturan kualitas global. Lan yen persiyapan sampeyan beda? Kita nindakake ukuran custom-nyetel ukuran, ngapiki spek-apa wae sing kudu cocog. Bagean paling apik? Ora prico kaya bagean mewah. Sampeyan entuk kopling universal sing tahan lama sing bisa ditindakake kanthi tenanan, tanpa mbayar bathi. Kanggo sapa wae sing ora bisa mbayar downtime, coupling SWC-BH iki minangka jinis potongan sing dipercaya sing terus maju mesin, awan lan awan.
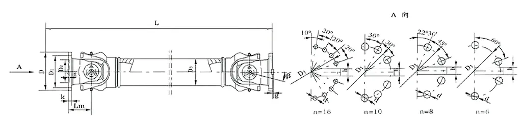
| Ora. | Diameteripun gyrasi d mm | Torsi Nominal Tn Kn · m | Sudut lipatan axes β (°) | Torsi Minyak Tf Kn · m | Ukuran (mm) | Muter Inersia KG.M2 | Bobot (kg) | |||||||||||
| Lmin | D1 (JS11) | D2 (H7) | D3 | Lm | N-D | k | t | b (H9) | g | Lmin | Mundhak 100mm | Lmin | Mundhak 100mm | |||||
| Swc100whwh | 100 | 1.25 | 0.63 | 25 ° | 243 | 84 | 57 | 60 | 55 | 6-9 | 7 | 2.5 | - | - | 0.0039 | 0.00019 | 4.5 | 0.35 |
| SWC120WH | 120 | 2.5 | 1.25 | 25 ° | 307 | 102 | 75 | 70 | 65 | 8-11 | 8 | 2.5 | - | - | 0.0096 | 0.00044 | 7.7 | 0.55 |
| Swc150wh | 150 | 5 | 25 | 25 ° | 350 | 130 | 90 | 89 | 80 | 8-13 | 10 | 3 | - | - | 0.371 | 0.00157 | 18 | 24.5 |
| SWC180wh | 180 | 12.5 | 6.3 | 25 ° | 180 | 155 | 105 | 114 | 110 | 8-17 | 17 | 5 | - | - | 0.15 | 0.007 | 48 | 2.8 |
| SWC225WH | 225 | 40 | 20 | 15 ° | 520 | 196 | 135 | 152 | 120 | 8-17 | 20 | 5 | 32 | 9 | 0.365 | 0.0234 | 78 | 4.9 |
| Swc250wh | 250 | 63 | 31.5 | 15 ° | 620 | 218 | 150 | 168 | 140 | 8-19 | 25 | 6 | 40 | 12.5 | 0.817 | 0.0277 | 124 | 5.3 |
| Swc285wh | 285 | 90 | 45 | 15 ° | 720 | 245 | 170 | 194 | 160 | 8-21 | 27 | 7 | 40 | 15 | 1.756 | 0.051 | 185 | 6.3 |
| SWC315WH | 315 | 125 | 63 | 15 ° | 805 | 280 | 185 | 219 | 219 | 10-23 | 32 | 8 | 40 | 15 | 2.893 | 0.0795 | 262 | 8 |
| SWC350WH | 350 | 180 | 90 | 15 ° | 875 | 310 | 210 | 267 | 194 | 10-23 | 35 | 8 | 50 | 16 | 5.013 | 0.2219 | 374 | 15 |
| SWC390WH | 390 | 250 | 125 | 15 ° | 955 | 345 | 235 | 267 | 215 | 10-25 | 40 | 8 | 70 | 18 | 8.406 | 0.2219 | 506 | 15 |
| SWC440WH | 440 | 355 | 180 | 15 ° | 1155 | 390 | 255 | 325 | 260 | 16-28 | 42 | 10 | 80 | 20 | 15.79 | 0.4744 | 790 | 21.7 |
| SWC490WH | 490 | 500 | 250 | 15 ° | 1205 | 435 | 275 | 325 | 270 | 16-31 | 47 | 12 | 90 | 22.5 | 26.54 | 0.4744 | 1014 | 21.7 |
| Swc550wh | 550 | 710 | 355 | 15 ° | 1355 | 492 | 320 | 426 | 325 | 16-31 | 50 | 12 | 100 | 22.5 | 48.32 | 1.357 | 1526 | 34 |
Yen sampeyan wis bosen ngatasi kesempatan sing nggegirisi sing alon-alon, yen sampeyan butuh, SWC-helding Sengkok Universal sing duwe game universal. Iki dikempalken karo tunjangan sing nggawe pilihan ndhuwur kanggo wong sing mbutuhake transmisi torsi kanthi sistem mekanik - ora ana langkah-langkah welding sing bingung, mung kinerja sing pas ing alur kerja.
Kaping pisanan, nginstal perkara iki luwih gampang tinimbang sing sampeyan pikirake. Boten kados kuping sing dilasake sing meksa sampeyan nggawa alat tambahan utawa ngenteni welds kanggo nyetel, swc-wH nggunakake desain sing ora ana. Sampeyan bisa slog menyang persiyapan sing wis ana, lan nalika wektu kanggo pangopènan? Loro-lorone yaiku angin, saengga peralatan industri ngentekake kurang wektu nganggur. Môngka, sing apik banget karo torsi gabungan-torsi-torsi-ora nyeri sirah downtime, entuk, ndandani apa sing sampeyan butuhake, lan bisa kerja maneh.
Dhewe-wicaksana, dibangun kanthi angel. Kita nggunakake bahan-bahan tugas sing abot sing nangani beban gedhe lan geter tetep tanpa lemes kanggo papan industri sing sibuk yen peralatan ora nate istirahat. Lan wiwit ora ana welding, sampeyan ora kudu kuwatir babagan papan-papan sing ringkih sing muncul nalika nganggo lemut. Iki dudu gabung sing bakal ngganti sawetara wulan; Iki minangka masarakat sendi universal sing dipercaya kanggo mesin industri sing nemplek, tetep operasi kanthi ati.
Misalignments? Ora masalah. Shafts ora tau tetep dijejeri kanthi sampurna, utamane ing sistem otomotif utawa transportasi, nanging nyimpang SWC-CH-SHC-CH-WH, lan panyimpangan radial kaya pro. Iki minangka jinis garansi drive universal sing njaga daya obah kanthi lancar sanajan alignment ora seneng-seneng, ora ana tetes sing konsisten.
Lan ayo diajak biaya. Welding nambah biaya tenaga kerja lan material, nanging gandheng iki ngliwati kabeh. Sampeyan entuk produk sing berkualitas tanpa luwih gedhe, yaiku menang gedhe kanggo anggaran apa wae. Malah ing bintik angel kaya persiyapan laut, ing ngendi korosi minangka ancaman sing terus-terusan, terus dadi kocapan sendi Universal laut sing dipercaya karo asin, gampang ing dompet sampeyan.
Yen sampeyan mlebu energi sing bisa dianyari, sing cocog karo sing cocog. Minangka universal universal sambungan kanggo peralatan energi sing bisa dianyari sing mindhah daya efisien, meh ora ana sampah. Kajaba iku, iku entheng, saengga ora nimbang sistem sing apik kanggo njaga barang-barang sing terus-terusan tanpa kinerja.
Ing Raydafon, kita ora mung adol pasangan-kita nggawe sing cocog karo kabutuhan. SWC-WH disesuaikan, saéngga bisa digunakake kanggo sampeyan. Yen sampeyan penasaran carane bisa nggawe operasi sampeyan luwih lancar, mung tekan tim kita. Kita bakal mlaku sampeyan liwat, ora ana omong-omongan sing bisa ditindakake dening Jargon sing bisa ditindakake kanggo pasangan.
Raydafon's SWC-WH tanpa jinis welding jinis universal digunakake kanggo makarya dhasar-kepiye mekanika gabungan Cardan - nanging kita wis tweunce kanggo mencetusaha kanggo proyek industri. Kabeh titik? Tekan torsi kanthi lancar ing antarane rong shafts sing ora dilantik dijejeri, sanajan ana ing sudut. Minangka tujuan sambungan SWC Cardan Universal sing dibangun Universal, nggunakake potongan silang ing tengah kanggo njaga pasangan rotasi sing terus-terusan - persis kenapa torsi universal kanggo kerja sing angel kaya mills rol utawa mesin gulungan.
Ayo ngilangi inti kepiye kerjane: ana rong gaweyan sing dipasrahake, lan dheweke nyambung dening cross tengah (kita diarani laba-laba). Persiyapan iki ngidini pivot goyang ing pirang-pirang arah - Dadi, sanajan shafts diimbangi nganti 25 ° (yaiku sudut sumbu sumbu maksimal), torsi isih bakal dilalekake kanthi merata. Iki entuk spek kanggo mbalikake, uga: Diametery gyrasi sawetara saka φ58 nganti φ620, lan ngucapake torsi nominal saka 0.15 nganti 1000 kn. Yen sampeyan nggunakake minangka pasangan sendi unigus tugas sing abot kanggo operasi gulung mill, desain iki tegese rotasi input dadi gerakan output tanpa gerakan sing cocog karo awake dhewe kanggo nggawe kesalahan, ora ana gangguan.
Apa sing nggawe "Tanpa Flex Welding"? We dibungkus welds kanggo sambungan bolted utawa clemped. Welds bisa dadi bintik sing ringkih ing wektu, nanging pengikat iki ngethok risiko kegagalan - lan uga nggawe pasangan kanthi gampang. Kucing universal sendi industri uga duwe desain kepala garpu sing wis nganyari sing mandheg bolts saka ngeculake, nambah kekuatan struktural 30% -50%. Sing menehi hasil gedhe kanggo nyabari bintik-bintik kaya tambang utawa situs konstruksi, ing ngendi tumindak minangka masarakat sambungan sambungan universal sendhi sing tahan lama kanthi tahan-tahan ing ngisor beban sing abot tanpa menehi.
Efisiensi minangka kamenangan liyane ing kene: cocog karo efisiensi transmisi 98,6%. Kita ngangkut saben bagean kanggo nyuda gesekan lan tenaga sampah - mula ora kaget, yaiku kopling sendi unigisional kanggo transmisi industri gedhe ing persiyapan industri gedhe ing persiyapan industri gedhe ing persiyapan industri gedhe ing persiyapan industri gedhe ing persiyapan industri gedhe. Lan mlaku sepi: Biasane 30-40 DB (A). Iki thanks kanggo rotasi sing seimbang lan pembatuhan getar sing dibangun kanthi nggunakake pasangan sendi universal sing murah banget kanggo panggonan sing ora ana masalah. Kajaba iku, tetep mbayar energi, mula priksa uga kebutuhan kanggo mascayal universal universal.
Ing mesin sing abot mesin universal sistem, iki penting: paling akeh: SWC-WH nyebarake pasukan kanthi merata kanthi kabeh bagean. Ora ana potongan tunggal sing akeh banget, tegese nyuda sing luwih sithik lan urip sing luwih dawa. Ing Raydafon, kita ora mung mbangun coupling iki kanggo ketemu spek-kita - kita bisa nyambut gawe kanggo tugas sampeyan, apa mesin sing abot banget utawa persiyapan industri khusus. Yen sampeyan pengin ngapiki supaya sistem bisa mlaku luwih lancar, mung ngobrol karo tim kita - kita bakal bisa mbantu sampeyan entuk persis sing sampeyan butuhake.
⭐⭐⭐⭐⭐ Zhang Wei, Engineical Engineer, Beijing Mesin Mesin Co., Ltd.
Kita duwe SWC-Welding SWC-WHA tanpa jinis welding universal ing peralatan produksi kita sajrone pirang-pirang wulan saiki, lan saiki wis dadi pemain sing tetep - utamane nalika kita nyurung mesin kanggo ngatasi akeh. Apa sing dakkarepake yaiku mbesuk banget: sanajan ing papan sing dawa, nuntut endi bagean liyane, bisa uga ana getar, ora ana kegagalan kanthi cepet, ora ana gabungan sing tiba-tiba.
Instalasi uga ana angin. Tim kita ora perlu nglampahi jam ngerteni langkah kompleks; Kita wis dipasang kanthi cepet lan ora kudu ngapiki wiwit. Kanggo gear tugas abot kaya kita, linuwih lan kualitas ora bisa dirundingake, lan mriksa panggunaan kasebut. Raydafon kabukten dheweke dadi mitra sing bisa diitung ing kene - kita seneng seneng karo carane nggawe produk kasebut.
⭐⭐⭐⭐⭐ John Smith, Manajer Tanduran, Manufaktur Florida, USA
Aku sijine stc-wh Raydafon kanggo digunakake ing fasilitas Florida sawetara wulan kepungkur, lan persis apa sing dibutuhake kanggo prasaja, ora ana sing efektif, lan terus-terusan. Tetep transmisi Tetep stabil, yaiku kunci kanggo njaga produksi kita kanthi cepet, lan kita durung bisa nutul kanggo pangopènan sapisan. Sing menang gedhe kanggo kita; Bagean sing kurang wektu tegese luwih akeh wektu sing ditindakake.
Sanajan kita mlaku mesin kanthi atos, ing stres sing dhuwur, coupling iki ora flinch - iku mung terus. Instalasi langsung; Techts kita wis nyiyapake wektu. Lan nalika sampeyan pasang kinerja kanthi rega cukup? Iku nilai padhet. Kajaba iku, dhukungan pelanggan Raydafon minangka top-tulis nalika kita entuk pitakonan kanthi cepet - dheweke bali menyang cepet. Mesthi kita bakal terus nggunakake produk ing garis kasebut.
⭐⭐⭐⭐⭐ Direktur Roberto Silva, Direktur Operasi, São Paulo Engineering Solutions, Brazil
Kita wis kerja sama karo RaydaFon kanggo saiki, nanging pasangan swc-wh tanpa fleksibel wis nate metu ing operasi - iku kabukten wektu lan maneh. Wangsulan: Bab ingkang sapisanan sampeyan sok dong mirsani konstruksi padhet; Rasa sing dibangun nganti pungkasan, lan sing nerjemahake menyang kinerja sing bisa dipercaya ing mesin kita.
Sadurunge kita ngalih menyang kopling iki, kita lagi nurunake downtime sing asring saka misalignment lan wedok durung wayahe ing bagean lawas. Saiki? Masalah kasebut wis ilang. Iki ngethok dalan mudhun, sing dadi tambah akeh kanggo produktivitas. Lan instalasi? Tim kita sing gampang banget ora mbuwang persiyapan ngatasi masalah. Kanggo perusahaan apa wae sing mbutuhake bagean panulunan tenaga sing bisa dipercaya, iki ora ana brainer. Aku pancene nyaranake.
⭐⭐⭐⭐⭐ Peter Müller, Pengawas Teknik, Stuttgart Manufacturing GmbH, Jerman
Kita wis nggunakake StC-wh Raydafon ing fasilitas produksi stuttgart kanggo luwih saka nem wulan, lan ora ana gandhengane, dudu masalah siji-sijine. Rancangane langsung, sing nggawe instalasi cinch; Tim kita wis cocog lan siap ora ana wektu, ora ana langkah sing rumit utawa alat khusus sing dibutuhake.
Nanging sing tenan nggambarake aku, yaiku kualitas. Welding resik lan kuwat, lan bahan kasebut rumangsa duwe kelas sing dhuwur-sampeyan bisa ngomong yen ora ngethok sudhut. Iki ditahan kanthi sampurna ing ngisor iki digunakake, nuduhake tandha nol sing nganggo sandhangan sanajan sawise wulan terus-terusan. Kita luwih seneng karo carane produk iki, lan wis ana ing dhaptar kita kanggo digunakake kanggo proyek ing mangsa ngarep.
alamat
Wilayah Industri Luotuo, Kabupaten Zhenhai, Kutha Ningbo, China
Telp


+86-574-87168065


Wilayah Industri Luotuo, Kabupaten Zhenhai, Kutha Ningbo, China
Hak Cipta © Raydafon Teknologi Group Co, winates kabeh hak dilindhungi undhang-undhang.
Links | Sitemap | RSS | XML | Kebijakan Privasi |
